I. 서 론
1. 연구의 목적
개화기에 이루어진 다양한 건축적 변화들은 18세기에서 19세기 동안 진행되어오고 있던 조선의 건축문화를 근본부터 서서히 뒤흔들기에 충분하였다. 서구 열강과 청, 일본에 의한 제국주의 정책의 각축장이 된 조선은 19세기 적 세계질서의 마지막 미 편입지역으로 남아 있었던 터라 급작스런 서구적 제도와 기술의 유입은 기존의 도시와 건축의식에 전례 없는 변화들을 가져 오게 된다. 특히 1876년 일본과 체결한 강화도 조약 전후로 새롭게 등장하기 시작한 서양식의 건축물들은 1882년 조미 수호통상조약을 선두로 점진적으로 새로운 사상과 기술을 파급 시키며 전통적으로 고수해 오던 건축문화와 생활 전반에 총체적인 변화를 줄 수 있는 환경을 제공한다. 이와 더불어 당시 발아 단계에 있던 조선사회 내부의 근대적 변화에 대한 욕구는 경제 정치 사회 전반에 걸쳐 급변하는 건축과 도시의 상황을 만들기에 충분 하였다. 쇠퇴하는 기존 질서와 갑작스럽고 도발적으로 다가온 구미의 기술과 자본, 생경한 서양의 문화는 조선 내의 정치, 경제적 요소와 결합하여 일상의 모습을 근본부터 그리고 폭넓게 흔드는 복잡한 환경을 제공하기에 이른다. 본 연구는 이렇게 필연적으로 마주 대할 수밖에 없었던 전통과 외래건축의 만남을 새로운 차원에서 조명하고자 한다. 건축에서 변화의 모습은 일상생활 환경에서 마주하는 배경으로서 건축에 강하게 드러나고 있었다. 여기서 자칫하면 “이식(移植)”이라고 하는 한 방향의 문화흐름으로 이해되기 쉬운 이시기의 건축적 상황들을 건축입면의 다양한 모습을 통해 보다 정밀하게 다룸으로서 근대 초창기 한국 건축의 절충적 변화상을 분석적으로 그려내려 하였다.
2. 연구의 대상과 시기
개화기 시기 구분에 대해서는 명확한 시작과 마침점이 여러 가지로 해석될 수 있겠으나 두 가지 획기적인 정치적 사건을 기점으로 1876년의 강화도 조약에서 1905년의 을사조약까지를 개화기로 설정하였다. 이시기 조선의 모습을 독립된 정치와 문화적 실체로 간주하고 양 방향의 절충적 변화, 즉 서구 건축 문화와 조선의 건축 문화 만남이 이루어진 접점에 주목하였다. 공간적 범위로는 조선에서 문화적 핵심 도시인 한성(漢城)을 대상지역으로 하였다. 성곽이나 행정 구역 상의 경계로 명확히 구분되는 의미에서의 한성이 아니라 중심도시로서 인식되어지는 폭넓은 의미로서의 한성을 의미한다. 그중에서도 외래(外來)적 요소가 가장 두드러지게 나타나는 정동과 1890년대 이후로 도시 전반에 퍼지기 시작했던 서구인 거주 지역을 중심으로 하였다. 이 지역에서 두 가지 특성을 보이는 건물 군, 즉 전통적 한옥이 변화의 모습을 보인 건물들, 여기에는 서구적 요소가 반영된 건물들과 새로운 건축 기술적 요소가 드러나는 건물들이 해당되며 다음으로 당시 지어졌던 양식건물 중에서 전통건축의 영향이 나타난 건물들을 다루려 하였다.
Table 1.
Building List
3. 연구의 방법
연구의 방법으로 문헌자료 수집에 의존 하였다. 당시에 지어진 것으로서 보존되어 있거나 부분적 모습이 남아있는 유구가 적기 때문에 당시의 건축적 상황을 가장 잘 확인할 수 있는 사진자료와 관련된 외국인 기록의 수집을 1차 자료로 하였다. 구한말을 기록한 사진첩, 각종 종교관계 서적, 버튼 홈즈(Burton Holems Lecture), 까를로스 로제티(Carlo Rosseti)와 같은 여행자의 기록에서 약 90여장의 사진 자료를 발견 할 수 있었고 이 사진 자료를 시기 및 유형별로 나누는 작업을 하였다. 여기에 더하여 기존연구로서 정리되어 있는 개화기 양식건축 관련 문헌과 도시변화 연구물 및 이와 관련된 학술자료를 2차 자료로 수집하였고 각 건물들의 도시 내 상황을 설명하는데 도움이 되는 고지도들을 보완하였다.
공간의 성격을 파악하는데 필요한 평면 구성에 대해서는 자료의 한계 상 이 논문의 범위에서 구체적으로 분석되기 어려워 본 연구의 한계로 남는다. 본 연구는 새로운 시각에서 자료를 찾아내고 그것을 정리하여 보여주는데도 그 의의가 있으므로 시각적으로 파악된 건물들의 모습을 유형별로 정리하는데 주력하였고 개개의 건축적 변화상을 구분, 도표화 하였다.
II. 혼성적 경향을 보이는 건물들과 그 분석
새롭게 양식 건물을 받아들인 경운궁 그 주변의 각종 공, 영사관, 이를 핵심으로 하는 방사형 도로와 환형 도로로 이루어진 도시 공간 등, 개화기 한성은 서구문물의 유입으로 변화된 공간 환경이 기존의 전통적 주거지역과 혼합되면서 서로 다른 두 건축문화의 혼합지역 양상을 띠게 된다.1) 이러한 상황을 종합해 볼 때 개화기의 도시와 건축의 모습은 새롭게 등장하는 서구인 거주 지역에서 조차도 쉽게 이식(移植)이라고 규정되기 어려운 점이 있다.2) 한 세기 이상이 지난 현재의 건축인식에서도 개화기 도시와 건축의 모습을 일방적인 수용이 아닌 상호 혼성적인 모습이 가능했으리라 추측해 볼 수 있으며 본 연구는 이러한 쌍방향적이고 자생적인 건축 상황을 면밀히 재조명해보는데 그 노력을 다하였다.
한성의 혼성적 도시 건축 상황을 배경으로 이시기에 건축 입면에서 절충(hybrid)적 성격을 보이는 건물들을 우선 사진자료를 중심으로 조사 하였다<Table 1>. 현재 남아있는 번사창, 정관헌, 중명전의 3동 이외에 사진자료 <Table 2> 및 문헌에 의존하여 총 50여개의 사례를 추출하였고 이를 용도별, 건축 주체별, 그리고 마지막으로 입면구성별로 나누는 방식을 취해 이 시기에 나타나는 입면의 절충(hybrid)적 성격을 분석적으로 드러내려 하였다.
1. 건축 주체별로 나눈 입면 특징
1) 서구인
서구인이 주체가 되어 사용한 절충적 성격의 건물은 주거, 병원, 외교공관, 학교 등 당시 이들 구성원의 성격이 외교관, 의료 선교사, 교육자였음을 말해준다. 개화기 전 기간에 절충적 성향은 골고루 분산되어 나타나지만 크게 1890년을 기점으로 이전의 집들은 거의가 기존의 한옥을 개수한 형태가 많이 나타나고 이후에는 양식골조를 중심으로 하고 전통적 문양이나 디테일을 적용한 집들이 주로 신축되고 있음을 볼 수 있다. 지붕 형태는 전통적인 형태를 차용해 거의가 팔작지붕과 맞배지붕이며 특히 1900년대 이후에는 이를 변형하여 직선적이고 단순화 된 지붕 형이 많이 나타난다. 벽은 전체를 조적으로 쌓아올린 예들과 목 가구를 바탕으로 조적 벽과 회벽이 섞이는 모습으로 다양한 조합이 나타난다. 유리를 도입해 실내분위기를 바꾸고 있으며 한옥을 개수해 조적 벽을 한 경우 한식 쌓기로 기둥사이 간벽을 메우는 방법이 두드러진다.
2) 대한제국 정부와 황실
대한제국 정부가 주체가 되어 만든 건물은 학교, 군용, 그리고 행정업무로 당시의 변화된 근대적 제도를 수용하는 모습을 보인다. 시기별로는 1884년 번사창에서 1905년경의 한성 전화소 까지 개화기 전 기간에 골고루 나타나고 신축이 대부분을 차지한다. 한식기와에 맞배지붕이나 팔작지붕의 전통적인 지붕형태를 차용하지만 벽체의 구성에서 조적 벽이나 목판 벽 등으로 기존의 회벽과는 다른 모습을 보이기 시작한다. 단순화된 유리창을 사용한 점과 조적 쌓기가 전통적인 한식 쌓기가 아니라 영식 쌓기가 주를 이루는 점도 특징적이다.
한편 대부분의 절충식 주택이 상류 주택인 사례에서 보듯이 양반계층은 서구인과 교분관계에 놓일 수 있었고 대한제국 황실은 이러한 친분과 문화적 교류를 누리는 사령탑과 같은 위치에 있었다.3) 대한제국 황실에서 사용하고 건축한 건물은 다분히 재단, 기념, 접견, 알현, 서재, 주거, 영정봉안 등 다양한 용도를 보여주고 있으나 새로운 기능의 수용은 두드러지게 나타나지 않는다. 이것은 정치적 변동과 관련하여 궁궐 내 절충적 건물이 양식으로 지은 건물과 달리 황실에서 요구되는 새로운 기능적 수용보다는 황권을 확대하는 과정에서 상징적 공간의 연장으로 사용되었다고 해석할 수 있다. 개화기 이전부터 등장하기 시작하는 한옥의 변화는 영연합(延英閤)옆 조적건물, 경복궁 집옥재(集玉齊), 흠문각(欽文閣), 함유재(咸有齋), 석어당(昔御堂)처럼 측벽을 한식 쌓기로 쌓아 변화를 보이는 건물들에서 부터 후기로 가면서 돈덕전(惇德殿), 수옥헌(漱玉軒), 환벽정(環壁亭), 구성헌(九成軒), 정관헌(靜觀軒)처럼 아예 양식건물을 지어 새로운 건축 스타일을 수용하고 있었다. 여기서 두 가지 건축적 특징을 볼 수 있는데 기존의 전통적인 건물 형을 이용 하면서 개념상 혹은 몇몇 디테일에서 양식적 변화를 보이는 것이나 반대로 건물 형이 완전히 바뀐 양식건물을 기반으로 전통적인 문양이나 디테일이 반영된 경우다.
2. 용도로 본 입면의 특징
1) 주거
주거는 기존 한옥의 가구 구조를 바탕으로 창호에 변화를 주거나 벽체를 조적 하여 전체적인 모습에서 한옥의 기본 틀을 변형하지 않고 입면을 다양하게 바꾸고 있다. 서구인이 들어오기 시작하면서 자신들의 거주지인 한옥에 부분적인 변화를 보인 예들은 뭴렌도르프 주택, 데니 저택, 언더우드 초기 주택 등 다수에서 확인할 수 있다(H1, H8, H10).
서구인들이 매입하여 사용한 주택들은 한옥을 자신들의 생활에 맞게 개수 하였고 지붕등 기존의 한옥 틀을 그대로 사용하고 있음을 볼 수 있다. 입면은 기존의 한옥 틀에서 벗어나 서구식의 창호(단순한 간살과 유리)를 도입하여 채광 면에서 기존에 볼 수 없었던 내부 공간의 변화를 시도 하였다. 주거에서 한성부민에 의해 새롭게 만들어지는 요소들은 개화기 초기에는 관찰되지 않는다. 다만 이시대의 양반층에서 약간씩의 새로운 건축요소의 차용이 있었다고 하는데 대원군의 사랑채로 쓰인 석파정의 사랑채가 양측 벽을 적벽돌로 쌓아 올리고 벽 가운데 원공을 만들어 창을 내어 기존의 한옥에서 볼 수 없었던 구축의 변화를 보이고 있다.4)(H55) 전통적 방법인 회벽에서 탈피하여 조적을 이용한 벽 구성 방식을 보이는 건물은 1900년경을 전후하여 주거에서 나타나고 있다(H17, H18).
절충적 경향을 보이는 가옥 중에서 한성부민 사이에 폐가로 소문이 나서 거주하기를 꺼리던 건물이 서구인에 의해 수용된 사례도 특이할 만하다. 뭴렌도르프의 집은 민겸호의 저택이었으나 민이 임오군란 때 피살된 이후로는 흉가로 소문이 나서 비어 있었으며 광혜원 또한 당시 개화파의 주역이면서 갑신정변 때 참화를 당한 홍영식의 집으로 알렌은 이 집의 상황이 처참함을 일기에 묘사하고 있다.5) 흉가로 꺼리는 이집들을 서구인들이 전통적인 터부와 상관없이 개수 사용하였고 이곳을 중심으로 한성부민들과 접촉하고 있어서 당시 주거관에 적지 않은 영향을 주었을 것이다.
2) 학교
교육의 기능은 개화기 이전에도 있었으나 근대적 기관으로 학교의 건축적 성격은 다분히 새로운 것 이었다. 즉 이들 교육기관 대부분이 기존의 전통적 교육과 다른 서구식 교육을 위해 내부공간의 대규모화와 이에 따른 가구의 배치, 시선 고려, 학생의 밀도, 채광 등 다양한 요소가 고려되어 지어지기 시작하였다(H22, H23). 주로 서구인과 대한제국 정부가 운영하는 교육시설로서 건물입면에서는 지붕모양에서 전통적 한옥과 유사한 형태가 강하게 나타나있음을 볼 수 있다. 특히, 한옥의 건축적 요소를 바탕으로 입면에 “X”자형 난간과 낭하(廊下)공간을 형성하고 간략화 된 유리 창호로 양식과의 절충이 독특하게 나타나는 이화학당이 주목할 만하다.6) (H20, H21) 벽체에서도 한성 사범학교를 제외하고는 목 가구 형식을 차용하는 모습이 공통적으로 나타난다. 법어(法語)학교, 영어 학교는 벽을 목판 벽으로 구성한 것이 확인되며 밝은 실내 환경을 유지하기 위해 대형의 유리창을 만들기 위한 격자의 창살을 도입하고 있다(H36, H62, H64).
3) 병원
교육과 마찬가지로 병원 또한 새로운 성격의 기관이었다. 재래적인 한의원과 달리 수술실과 환자 대기실 등 다양한 실의 기능이 필요했고 실 내부 또한 개조할 필요가 발생한 것으로 보인다. 병원을 설립한 다수가 의료선교사로서 내한한 서구인 이었고 1890년대를 전후하여 재래한옥을 매입 개조한 것으로 보인다. 건물 입면에서 이들 모두가 정통적 외형을 그대로 유지하되 창호에 있어 전면격자 유리라든가 단순화된 유리창으로 변화해 있는 것이 특징적이다. 장식적인 면보다는 거주하고 병원업무를 보는데 적합한 내부 환경의 개선이 제일 우선 조건이었을 것이며 또한 이용자 대다수가 한성부민이라는 점에서 기존 한옥 형태를 존중하면서 새로운 기능적 요구와 조화를 이루려 했을 것으로 추론 해 볼 수 있다.
4) 서구 공관
초기 서구인의 공관은 거의가 한옥을 개수하여 사용하였다. 자료에서 보이는 미국 공사관과 독일 영사관은 전형적인 한옥에다 기둥을 남겨놓고 벽을 완전히 개조한 형태로서 조적 또는 회반죽 마감으로 되어있다(H15, H32). 문과 창호의 형태는 그 배치나 형태가 기존의 한옥 창 배치와 다르게 나타나고 있어 내부가 서양식으로 바뀌었음을 시사한다. 당시 미국 공사관을 묘사한 글에는 집 내부를 서양식으로 사용하는데 대한 애로사항을 전하는 글도 있어 이채롭다.7) 외교공관이 미국이나 초기 불란서, 독일처럼 한옥의 개수 형태인데 비하여 이태리 영사관은 좀 더 주목할 만한 모습을 보여준다. 즉 초기 이태리 영사관은 미국 공사관처럼 벽체구성방식이 기둥사이에다 벽돌을 쌓아올리는 방법을 취하였지만 독특하게도 지붕의 형태가 기존의 한옥처마와는 다른 급경사로 구성해서 중국식 지붕형태를 연상하게 한다(H3). 서대문으로 옮겨간 두 번째 이태리 영사관은 건물 벽 자체를 양식으로 필라스터가 보이는 조적으로 만든데 반해 지붕은 이전 영사관과 비교하여 전통한옥의 모습과 더 유사한 형태를 나타내고 있었다. 비록 용마루가 짧고 도머(Dormer)형식의 창을 지붕에 내고 있으나 팔작지붕에다 한식기와를 얻은 모습을 보면 신축임에도 지역적 특색을 고려하고 있었음을 짐작 할 수 있다(H5).
5) 행정
행정 사무를 보는 건물 중 변화의 경향을 보이는 건물 대다수에서 새롭게 요구되는 근대적 기술과 사용을 수용한 형태가 나타나고 있다. 주로 전신 전화업무와 새로운 법제도를 위한 건물로서 모두가 정부에 의해 주도되었다. 신축을 통해 새로운 기능을 수용하고 전통적인 팔작지붕을 유지하되 단순화된 유리 창호를 설치한 것이 관찰된다. 서대문밖의 아문과 한성 전화소는 건물의 출입구를 당시에 지어지는 양식의 공공건물과 같이 건물의 중심부로 배치하여 건물의 진입방식이 변화되어 나타나고 있음을 볼 수 있다(H52, H12). 한성 전보 총국에서는 측벽을 전통적인 사고석으로 쌓았으나 전면에 목판 벽을 사용한 것이 이채롭다(H57).
6) 군용
군용건물은 모두 대한제국 정부에서 주도한 것으로 입면 특징이 가장 두드러진다. 기존의 목 가구 형식을 탈피하여 모두 벽돌을 이용한 조적으로 벽체를 형성하고 있다(H30, H40, H63). 견고함을 요구하는 군사시설로서 벽돌조적으로 벽을 구성한 Barrack 건물을 짓는 동시에 인원수용 밀도를 높이기 위한 상층부의 도입도 두드러진다. 전통적 목구조 방식의 구축이 사라짐에 따라 내부에 있어서도 트러스를 사용했으리라 생각되며 맞배지붕에 처마가 짧게 변형되어 있다. 모두가 영식 쌓기 방법으로 디테일이나 장식의 표현 없이 조적하였으며 사각형의 창 형태도 군사 기능의 건물에 맞게 간략화 되어 있다.
7) 상가
새로운 상권의 형성 등으로 건축적 변화가 컸던 한성의 대로변 상가에도 측벽전체를 조적으로 쌓아올려 변화된 모습을 보이는 건물들이 나타난다. 운종가와 남대문로에서 전통적인 상업 활동을 담당하던 행랑의 방화벽은 흙벽을 쌓거나 밑에 사고석으로 견고히 쌓아 위를 흙색벽돌을 쌓아올린 것으로 벽돌을 쌓는 방식에서 회 줄눈이 두터운 형태로 전통적인 수법이 나타나 있다. 벽 전체를 모두 조적으로 촘촘히 쌓아올린 종루근처의 상가나 측벽전면을 모두 회칠한 수표교 근처의 상가는 이러한 기존 행랑건축과 다른 내력벽의 측벽모습을 보여준다(H58, H59, H47). 두 건물 다 민간에서 지은 것으로 판단되며 맞배지붕에다 지붕처마가 짧게 변형되어 있다.
III. 입면의 절충적 변화
1. 개수된 유리 창호
대부분이 1890년대 이전에 지어졌거나 이후에도 최초의 거주지로 설정된 집들로서 기존의 한옥에 창호를 제외하면 입면에 변형이 일어나지 않는다. 서구인들이 주 사용자였으며 기존주택의 목 가구 형식이나 회벽, 지붕틀을 그대로 둔 채 창호에서 반투명인 기존의 창호지와 이를 지지하는 전통적 창살을 생략해 단순화한 유리창으로 개조 하였다.8) 이것은 기존 한옥에서 채광과 투명한 유리로 인한 조망이 서구인들에게 선호되어 실내 환경을 변화를 도모했다는 것을 말해준다.9) 구성은 기존 한옥 창호의 간살 뒤에 판유리를 붙이는 방식으로 보이며 여기서 간살이 단순해지거나 창틀의 프레임에 유리를 끼워 넣는 방식까지 다양한 방법으로 유리와 목재 창살이 만나고 있다. 더불어 유리 창호후면부에 블라인드나 커튼을 설치해서 사생활을 확보하려한 모습이 보인다(H1, H2, H7, H11, H15, H20, H21, H24, H25, H32, H49, H53, H34).
2. 유리창호의 확대
서구인에 의해 지어진 주거와 병원에서 격자형의 유리문이 나타난다. 팔작지붕의 한옥을 개수한 한옥의 목구조를 바탕으로 전면에 유리를 도입한 목재 문을 만들고 있다. 모두가 1890년대 이전에 나타나고 있어 주로 기존의 주거를 서구인의 생활에 맞도록 개수한 과정을 유추해 볼 수 있다.
이러한 유형의 입면 중에서 외부공간에서 내부공간으로 끌어들이는 중심적인 대청마루 공간을 ‘井’자형이나 세살의 유리 분합문을 만들어 실내화 하고 있는 예를 보여준다. 분합문으로 된 출입문외에 대청마루 부분의 벽을 격자형의 고정식 유리창으로 만들기도 해서 대청마루가 서양인들의 관점에서 밝은 실내를 유지하면서 서재와 같은 여유 공간을 만들기에 적합하였을 것으로 보인다. 이렇게 실내 환경을 변화시키려는 요구는 대청을 유리창으로 완전히 실내화한 데니저택, 시병원, 언더우드 주택에서 잘 나타나 있다. 개폐방식에 있어서는 전면 대청마루 부분에 미닫이나 미서기 문이 사용되고 있으며 일반적인 실의 경우는 여닫이 창호가 대부분의 건물에서 미닫이와 혼용되는 것을 볼 수 있다. 개실에 여닫이 창호가 쓰인 경우도 보이는데 이것은 서구식의 창호개폐 방법을 도입한 것으로 보인다.
이화학당의 구가옥이나 제중원, 뭴렌도르프의 한옥에서 보이듯이 정착가옥의 초기부터 日자형이나 田 자형의 창살형태가 나타나고 있다(H4, H8, H10, H36, H41, H46, H50, H54, H56).
3. 유리 창호와 목판 벽
목판 벽을 가진 건물 중 학교건물들은 대개가 다 1895년 정부의 “교육입국 조서”에 따른 교육개혁의 일환으로 지어진 건물로 기존의 한옥 지붕 형태를 사용 하였다. 당시로는 학교의 대부분이 대형 건물로 돈이 많이 드는 조적조 대신 공사가 용이하고 저렴한 목판을 벽 재료로 선택했을 가능성을 유추해 볼 수 있다. 창은 교실 채광을 위해 넓게 만들었고 한옥의 규모도 거대화 되었다. 여기에는 한성 영어학교, 덕어학교, 법어학교 등 당시 생겨난 외국어 학교들이 해당되며 가구구조의 비늘판벽으로 구성되었다. 이들 창호는 경량의 목구조를 바탕으로 건물 입면의 대부분을 구성하며 많은 인원의 수용에 따르는 채광과 통풍, 환기를 고려하였음을 생각해 볼 수 있다. 한성 전보 총국에서는 전면을 2등분하여 하부에는 기존의 사고석이나 전돌이 쌓아 올려 지던 것을 목판으로 바꾸었고 상부에는 기둥과 기둥사이 전체를 유리창호로 구성한 점이 특이하다(H36, H57, H62, H64).
4. 측면 조적 벽
1860년경부터 왕실이나 상류사회를 중심으로 지어지던 측벽 조적은 개화기에도 지속되어 경운궁 중건 시 흠문각이나 함유제에도 공포 부분부터 계단식으로 내밀어 쌓으면서 처마의 끝선에 맞추는 방식으로 나타나 있다.
사진에서 확인되는 종로와 수표교 근처의 상가는 기존행랑 건축의 사고석과 전돌 형식을 탈피해 측벽조적이 만들어 지고 있음을 보여 준다. 이는 궁궐 건축에서 보이던 측벽 조적이 민간 건축에까지 파급되었음을 보여준다. 궁궐 조적 건물과 같은 맞배지붕이지만 단을 조적해 올라가서 처마 끝에 맞추는 방법이 없고 좌우 측벽 지붕 선에서 처마에 맞게 조적 선을 맞추면서 기와 한 장을 더 내밀어 쌓고 있다.10) 이는 1910년 이후 중국인에 의해 지어지는 측벽조적, 즉, 중국 상가에서 나타나는 측벽 조적에서는 끝을 벽돌로 감추면서, 기와 위로 내밀어 벽돌 한 장이나 두 장 두께로 두겁을 만들고 그 위에 함석을 씌워 누수를 방지하도록 한 벽과도 차이를 보이고 있다(H43, H47, H48, H55, H58, H59, H61).
5. 조적 벽의 확대
목 가구 형식위에 조적으로 벽을 구성한 예로서 서구인과 정부가 주도한 건물에 나타나고 있다. 학교, 공관, 주거, 행정기능을 담은 것으로서 당시 새롭게 나타난 근대적 기능을 수용하려 외형을 변화 시킨 것으로 판단된다. 대부분 조적 벽에 알맞은 단순한 형태의 유리 창호를 설치했으며 쌓는 방식으로는 한식 쌓기가 주로 보인다.
전통적인 목구조에 벽돌조가 혼합되는 방식 이외에 기존의 회벽을 한식 쌓기 조적으로 대치한 경우도 나타나는데 천주교 고아원, 한성 전기회사 간부사택, 미국 공사관이 여기에 해당 된다. 길이쌓기로 하여 장식적으로 쌓아 올리고 백회로 보이는 줄눈을 두텁게 발랐으며 각(角)형의 한옥 기둥사이를 메우는 방식이 관찰 된다. 이러한 조적이 가능 하였던 것은 영식 쌓기가 주로 구조적인 것에 관계하는데 반해 입면을 장식적으로 처리하기가 용이하고 반장 쌓기로 경제적인 효과도 거둘 수 있었으리라 추론 된다.
이태리 영사관, 한성 전화소, 한성 전기회사 간부사택, 미국 공사관, 천주교 고아원, 한성부 정문에서는 팔작지붕이나 맞배지붕의 기존 목구조에서 측벽을 벗어나 전면 벽에도 조적조로 구성된 모습을 보인다. 벽 전면으로 확대된 조적은 상, 하 인방제가 생략됨으로써 목구조에 의한 횡적인 요소를 없애고 기둥만을 외형으로 표현한 입면을 구성한다. 이것은 원형기둥이나 사고석등 한옥의 벽에서 보여 지는 다양한 구성요소와 창호의 지지를 위한 상, 하인방의 부재를 생략함으로서 점차 단순화된 입면 구성을 보여준다. 조선인 중에는 양옥을 지을만한 기술자가 없어 중국에서 미장이나 벽돌공을 데리고 와야 했다는 기록으로 보아 중국인 노무자에 의한 조적 건축물 공사를 추론해 볼 수 있다.11) 이들 절충 건물의 출입방식에도 기존과 다른 변화가 보이는데 전면에 양식 문을 만들어 진입하거나 출입구 부분에만 계단을 놓아 진입하는 형식이 나타난다. 즉, 주택에서 전면 일부에 단일 출입구가 형성되고 있다(H12, H13, H14, H16, H17, H18, H19, H33, H39, H52).
6. 조적 벽의 구축
번사창으로부터 시작된 내력벽의 변화는 1900년 경 전후에 목구조나 당시 차용되던 벽돌 간벽의 구축방법에서 벽 자체가 공간을 구분하는 동시에 하중을 전달하는 형식으로 전환되어 있다.12) 부분적으로 쓰이던 조적조가 외벽 전체를 이루게 되면서 구조 방식에서 지붕하중 일체가 가구식의 기둥부재에 의지하던 방식을 탈피하고 있는 것이다. 여기에 맞추어 창호의 모양도 조적 조에 알맞게 폭이 좁아지는 모습을 보이며 지붕의 형태도 전통적인 긴처마에서 변화되어 길이가 짧아지고 서까래가 감춰지거나 축소되는 모습이 보인다. 내력벽의 조적 쌓기 특징은 한단을 2겹 혹은 4겹의 반장 쌓기(길이쌓기)로 한 후 그 위에 1겹이나 2겹의 한장 쌓기를 한 영식 쌓기와 같은 형태로 구성되었다.
한성 사범학교에서 보이듯이 외벽을 조적의 내력벽으로 구성하고 내부 기둥은 목재로 하여 조적 벽에 목재가 구조재로서 내부에 혼합된 방식이 나타나 있다. 원수부, 프랑스 호텔, 이태리 영사관에서 보이는 부축 벽은 내력벽 중에서 두꺼운 조적방식을 탈피해 양식화된 것으로 보이며 벽의 두께를 줄이면서 효율적으로 힘을 전달시키는 방법으로 옮아간 것이라고 판단된다.
지붕틀 또한 초기형태의 번사창에서 나타나듯이 트러스 부재로 주간에서 기둥의 도움 없이 하중을 측벽 조적 벽으로 전달하는 변화가 시작되고 있다. 번사창 에 이어 정부의 주관 하에 군사시설로 만들어진 원수부에서도 이와 비슷한 조적 내력벽을 사용한 것이 확인되고 있다. 여기에는 건물 규모나 높이에 비해 육중한 조적 벽이 보이며 장식이 없는 밋밋한 조적 벽에 규격화된 창호를 일렬로 배치하고 맞배지붕을 얹음으로써 조적과 한식지붕의 절충을 간결하게 보여준다. 내부에 대한 사진이 없어 확인하긴 어려우나 이들 군사 시설의 지붕형태도 곡률이 적은 맞배지붕 형으로 보아 내부에 트러스가 사용 되었으리라는 추측이 가능하며 이는 장 스팬으로 신 군제에 맞는 변화된 용도를 수용 했으리라 생각된다(H28, H29, H30, H40, H42, H63).
7. 조적 벽 위의 한식지붕
왕실에서 건설한 군사시설의 지붕 모습이 기능 위주로 단순화된 것이라면 서구인 영향이 가미된 것으로 보이는 언더우드 주택, 이태리 공사관, 프랑스 호텔, 한성 사범학교에서는 전통적이고 상징적인 요소를 지붕 입면전체에 도입한 모습으로 볼 수 있다. 이 집들은 벽체를 양식으로 구성한 다음 지붕형태는 한옥을 모방하거나 이를 간략화한 모습으로 재해석한 건물이다. 조적 쌓기는 대부분 영식 쌓기로 목구조가 가지는 구성을 탈피하였으나 지붕모양에서 함석을 차용한 것으로 보이는 팔작지붕이나 처마를 단순화시킨 맞배지붕의 건물외형을 보여준다. 많은 건물에서 기능상의 변화를 수용하는 2층의 구성이 특징적으로 나타나는데 특히 처마는 조적 선에 맞추거나 짧아져서 내력벽위에 놓이는 형식으로 변화되어 있다. 지붕이 조적 벽체선 밖으로 많이 돌출되지 못함에 따라 입면구성에서 비례적으로 위가 가볍게 처리되는 조적조 건물의 특징을 나타내게 된다(H3, H5, H6, H9, H31, H35, H44, H45).
8. 조적벽과 전통적 디테일
경운궁 궁궐 영역 안에 있고 왕실에서 건축한 건물들이 보여주는 예로서 양식 건물을 바탕으로 주두, 벽체 난간에 전통적 디테일을 보여주는 건물들이다. 여기에는 조적으로 쌓은 아케이드 기둥에 빨간 벽돌과 회색벽돌로 추정되는 십자형의 조적문양이 있는데 이 시기 여타 양식건축에서 볼 수 없는 전통적 요소로 여겨진다. 아케이드 입면과 지붕선이 만나는 곳에 돌림띠 장식이 나타나고 다층일 경우 1층과 2층에 수평 띠를 하였다. 입면을 단순한 단색 조적으로 처리하지 않고 색깔을 달리 조적해서 전체적인 입면에 변화를 주었으며 왕실상징인 이화문양을 난간 등 건물요소에 표현함으로서 입면을 상징적으로 표현하고 있다.
이외에도 장식적 모티브들 절충한 입면 중에는 이오니 아식 목조기둥 주두에 이화로 추정되는 꽃문양과 낙양의 전통무늬를 본뜬 화초무늬, 사슴과 소나무 문양이 새겨진 난간 등이 보인다(H26, H27, H37, H38, H60).
V. 결 론
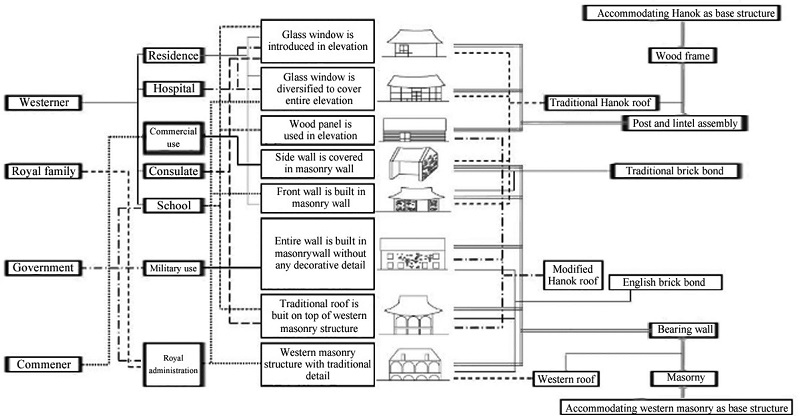
이상의 분류를 통하여 개화기의 건물형은 다음 8가지 입면 형태로 나누어 질 수 있다<Figure 12>.
1. 기존 한옥의 입면 변화가 창호나 세부 요소에 나타나는 건물
2. 창호에 의한 의도적인 변화가 한옥 입면 전체로 확대된 건물
3. 측면에 조적을 쌓은 변화를 보이는 건물
4. 전면에도 조적이 나타나 한옥에 구성된 건물
5. 벽체에 목판 벽을 사용한 건물
6. 조적으로 전체입면을 구성하면서 장식적 요소의 사용이 없는 단순하고 평평한 벽 입면으로 양식화 경향이 적은 건물
7. 양식화된 조적으로 입면을 구성하고 한식적인 지붕구성을 보이는 건물
8. 양식의 건물을 바탕으로 디테일에서 전통적인 요소를 반영한 건물
여기서 발견될 수 있는 특징은 한옥을 서구인이 개수하거나 개축한 경우, 전통적 한옥의 구성에 양식의 입면요소가 드러나는 것인 반면 신축의 경우에 있어서는 새로운 시대적 요구에 따른 공공 건축물들이 완전히 양식 건축물을 모방하지 않고 전통적 입면요소를 수용하는 두 가지 큰 흐름으로 압축해 볼 수 있다.
쌍방향적인 상호 절충적 변화 속에서 건물의 구성이 점차 양식화 됨에도 불구하고 지붕은 한옥의 형태를 고수한 모습이 개화기 전 기간 동안 지속적으로 나타나고 있다. 조적조 위에 지붕이 올라가는 경우 팔작지붕이나 맞배지붕의 형태를 유지하면서도 비례나 형태에서 다양한 변형을 나타내고 있는 점도 이 기간에 나타나는 특징적 모습이다. 전통적인 맞배지붕이나 우진각, 팔작지붕을 모방하고 있는데 그 용도가 공관, 호텔, 학교, 군사, 주거, 의례와 같이 다양하게 나타나고 있다.
개화기에 보이는 건물의 이러한 기능적 분화는 새로운 건축용도, 기술의 도입과 함께 다양한 입면 스펙트럼을 형성한다. 세부적인 건축요소만을 변형한 한옥에서부터 완전히 양식화된 건물에 전통의 상징적 요소가 도입되는 다양한 모습 속에 가장 두드러진 특징은 벽돌과 유리의 사용이라고 볼 수 있다. 특히 규격화 된 벽돌이 본격적인 건축 재료로 사용되기 시작한 것은 한국의 전통적 건축모습을 근본부터 바꾸어 놓은 것으로 그 파급 효과는 현재 진행형이라고 볼 수 있다. 즉, 나무에서 벽돌로의 점진적 변화는 전체 하중을 조립식 구조인 나무부재가 지지하던 과거의 방식을 탈피해서 일체화된 벽식 구조인 조적 벽이 지지하게 됨으로서 공간의 계획이나 구축방법에서 근대적(서구적)인 방식으로 일대 전환하는 모습을 보여준다. 개별화된 부재를 기반으로 하는 전통의 가구 구조에서 석재의 특성을 살린 내력벽 구조로의 전환은 개화기 건축의 입면을 읽는 가장 핵심적인 요소이며 기존의 전통적 구축방식이 서구적 건축방법과 섞이면서 기존의 건축문화에 변화를 일으키는 가장 주목할 만한 모습이라 하겠다. 전통적인 부분과 외래적인 부분이 상호 관입하면서 절충되는 이러한 모습은 조적벽체로의 전이가 파생한 구축의 변화가 유리창호의 등장과 더불어 입면의 구성요소에서 주요한 변화 요소로 작용하고 있다. 결국 벽돌에 의한 조적 벽이 내력벽화 됨으로써 여기에 조합되는 창호와 지붕의 형태에 변화를 가져오게 하였고 이것은 유리재의 사용, 함석재를 사용한 지붕의 경량화, 창호 크기의 변형, 처마의 축소와 같은 변화를 불러일으키게 되었다. 외형, 특히 입면의 변화에 주로 의지하여 분류한 이 시기 절충적 한옥의 특성은 전통적 목재의 문화가 새로이 등장한 외래의 석재의 문화로 변화되는 연결점을 분명히 드러내고 있다.
끝으로 제한된 사진자료와 문헌으로 한 세기가 지난 시대의 건축적 상황을 입면의 절충적 모습에 따라 분류하려한 이 시도는 연계된 연구와 자료 부족이라는 한계가 결론을 일반화하는데 상당한 부담으로 남는다. 차후에 많은 시각자료의 발굴로 본 연구를 보충하고 더욱 풍부한 연구 성과를 기대해 본다.
























